
Chapter 1 – Universal Socket Connectivity
Multi-Tech Systems, Inc. Universal Socket Hardware Guide for Developers (S000342C) 15
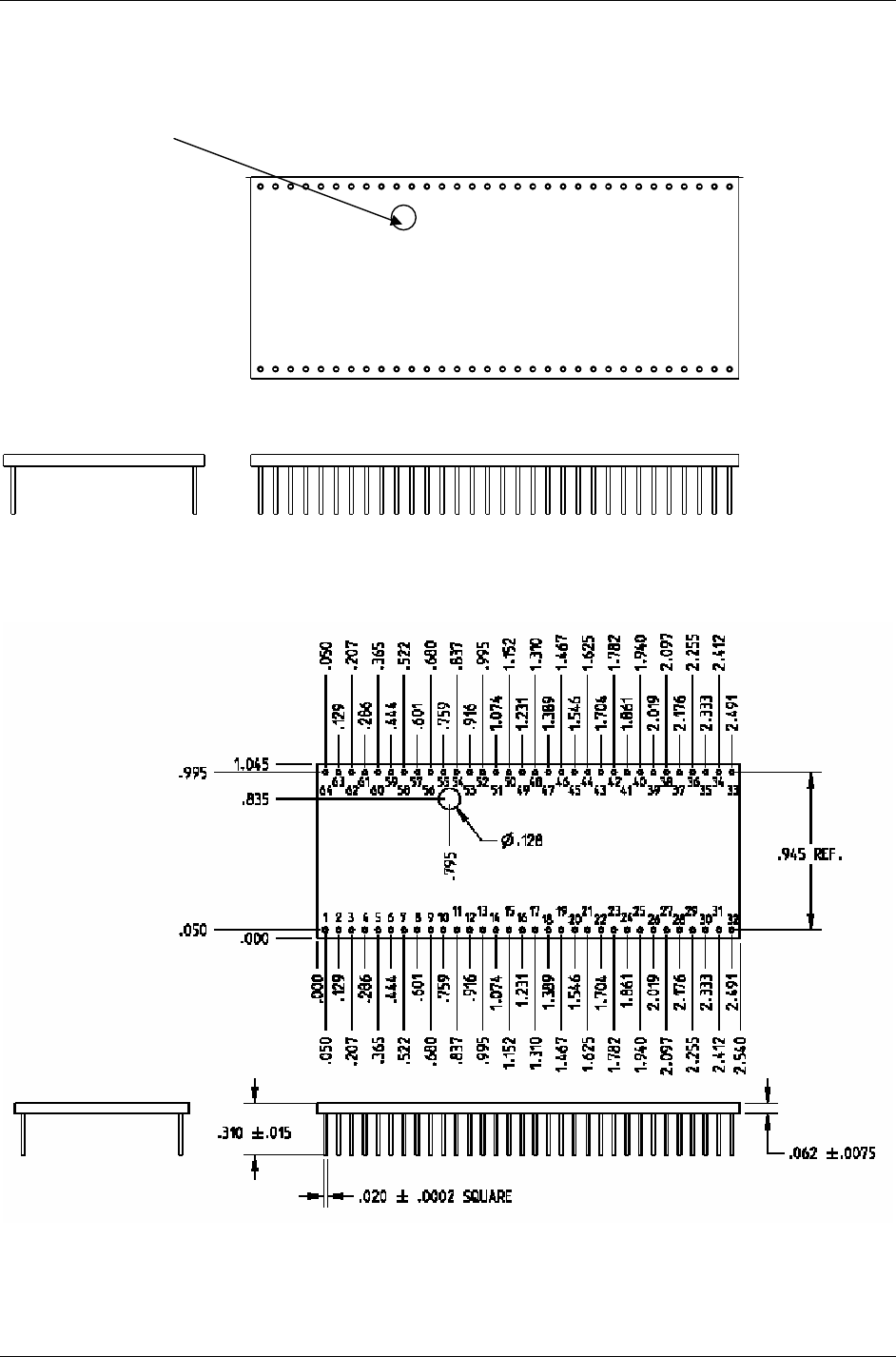
Mechanical Dimensions in Inches
Note: This tooling hole is not on all models.
1
2
3
4
5
67 89
10
11
12
13
14
15
16
17
18
19
20
21
22
23
24
25
26
27
28
29
30
31
32
64
63
62
61
60
59
58
57
56
55
54
53
52
51
50
49
48
47
46
45
44
43
42
41
40
39
38
37
36
35
34
33
Dimensions Are Shown in Inches
Komentáře k této Příručce